Coogan´s Homepage


 
         
  Anleitung für den C20LET (XE) Motor vonOpel  
   
     
  Der OPEL C20XE / C20LET Motor  
     
     
  C20XE Röntgenbild  
     
     
 

Aluminium Zylinderkopf mit 2 obenliegenden Nockenwellen

Hydrotassenstößel

bearbeitete Einlaßkanäle für optimale Zylinderfüllung

bearbeitete Brennräume

46° Ventilwinkel

kühlende, mit Natrium gefüllte Auslaßventile

geschmiedete Kolben

Temperguß-Pleulstangen mit schwimmenden Kolbenbolzenlagerung

Ölwanne aus Aluminium-Druckguß mit vergrößertem Volumen und dynamischer Ölstandskontrolle

Schwingsaugrohr mit Register-Drosselklappenstutzen

Bosch Motronic M2.5 mit Luftmassenmesser, sequentieller Krafststoffeinspritzung, sowie selektiver Klopfreglung und Eigendiagnosesystem

geschweißte Edelstahl-Auslaßkrümmer mit Lambdasonde und Katalysator

Mitte 1988 wurde dMitte 1988 wurde der C20XE dann im Kadett GSi (16V) erstmals ausgeliefert.
 
     
     
  Cossi Zylinderkopf oder auch "Coscast Kopf" genannt  
     
     
  Coscast Kopf  
     
     
 

Gefertigt von der Firma Cosworth

Als erstes Erkennungsmerkmal tragen diese Zylinderköpfe auf der Unterseite am 2. Zylinder die Prägung Coscast welches das Gießverfahren, was bei der Herstellung verwendet wurde bedeutet.

Das zweite Erkennungsmerkmal ist die deutlich sichtbare Kante, welche sich unterhalb des Verteilers, seitlich am Wasserkanal befindet.

Was auch stimmt ist, dass diese Köpfe die haltbarsten sind, d.h. man nicht mit einfallenden Kopfschrauben oder einem Riß im Öl/Wasserkanal rechnen muss.
 
     
     
  Zylinderkopfdaten C20XE  
     
     
  Zylinderkopfdaten C20XE  
     
     
  Was ist wo??  
     
     
  Was ist wo??  
     
     
  1. Motorsteuergerät Motronik M2.7
2. Heißstartventil
3. Temperaturfühler Ladeluft
4. Drosselklappen-Stellunngsgeber
5. Zündverteiler mit Hallgeber
6. Tankentlüftungsventil
7. Lambdasonde
8. Ladedruckregeleinheit (Wastegate)
9. Taktventil
10. Luftmassenmesser
 
     
     
  Was ist Wo?  
     
     
 

1. Klopfsensor
2. Leerlaufdrehsteller
3. Benzindruckregler
4. Schalter 1.-Gang-Erkennung
5. Kurbelwellensensor

 
     
     
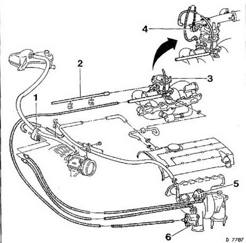
  Was ist Wo?  
     
     
  1. Taktventil
2. Ladedruck-Meßschlauch zum Steuergerät
3. Drosselklappengehäuse
4. Heißstartventil
5. Ladedruckregeleinheit (Wastegate)
6. Ladeluft-Bypass-Ventil
 
     
     
  Kraftstoffpumpe, Benzinfilter und Pulsierungsdämpfer  
     
     
 

Die Kraftstoffpumpe ist vom Typ Rollenzellenpumpe, d. h. der Kraftstoff fließt durch die Pumpe. Dadurch wird die Kraftstoffpumpe gekühlt und geschmiert.

Der Benzinfilter hat die Aufgabe Fremdkörper aus dem Benzin zu filtern, der beim Tanken aufgewirbelt wird. Dieser Filter ist nach der Benzinpumpe geschaltet.

 
     
     
 

Der Pulsierungsdämpfer hat die Aufgabe das Benzin, durch die Kraftstoffpumpe verunruhigt, wieder zu beruhigen um störende Frequenzen zu vermeiden. Dadurch kommt es nicht zu Bewegungen der Kraftstoffleitungen und -schläuche.

 
     
     
  Benzinpumpenrelais  
     
     
 

Dieses Relais steuert die Benzinpumpe. Beim Einschalten der Zündung wird der Kraftstoffpumpe solange Spannung gegeben, bis der Systemdruck von 2.5bar anliegt und danach abgeschaltet, wenn der Motor nicht gestartet wird.

 
     
     
  Kraftstoffdruckregelventil  
     
     
  Es sitzt direkt auf der Einspritzleiste, welche auch als Vorratsbehälter dient. Das Ventil regelt den Systemdruck direkt vor den Einspritzventilen. Überschüssiges Benzin wird zurück in den Tank geleitet.  
     
     
  Was ist wo?  
     
     
  1. Benzindruckregler
2. Anschlußventil für Messinstrument
 
     
     
  Einspritzdüsen  
     
     
  Die Einspritzdüsen werden durch Impulse vom Steuergerät geöffnet und geschlossen. Je länger die Öffnungzeit um so mehr wird Benzin in die Brennräume eingespritzt. Sie sind extra für den C20LET, da eine höhere Durchflußmenge gegenüber den Düsen vom C20XE gewährleistet wird.  
     
     
  Tankentlüftungsventil  
     
     
  Es dient dazu, die im Tank entstehenden, Benzindämpfe im Aktivkohlefilter zwischenzuspeichern und dem Motor in Maßen zur Verbrennung zuzugeben.  
     
     
  Was ist wo?  
     
     
  Heißstartventil  
     
     
  Das Heißstartventil erhöht bei heißem Motor den Kraftstoffdruck um das Verdampfen des Kraftstoffes beim Startvorgang zu unterbinden. Normalerweise wird der Kraftstoffdruck über den Unterdruck im Drosselklappengehäuse geregelt. Bei heißen Motor kommt es dadurch zu Startschwierigkeiten. Das Heißstartventil schließt die Unterdruckverbindung zwischen Drosselklappengehäuse und dem Vorratsrohr und öffnet dagegen zum atmosphärischen Luftdruck, dies erhöht den Kraftstoffdruck.  
     
     
  Was ist wo?  
     
     
  Heißdrahtluftmassenmesser  
     
     
  Zur optimalen Bestimmung von Lastzuständen eines Benzinmotors ist es nötig die Luftmasse, die in den Verbrennungsräumen gebracht wird, zu messen. Die Messwerte sind unabhängig von Luftdruck, Meeresspiegelhöhe und Lufttemperatur.  
     
     
  Was ist wo?  
     
     
 

m-eintretende Luftmasse

SE-Steuerelektronik

RK-Temperaturfühler

RH-Heißdraht

RM-Präzisionswiderstand

 
     
     
  Die Luftmasse (m) wird gemessen, indem man sie an einem Heißdraht (RH) vorbeileitet. Dieser Heißdraht ist ein Teil einer elektrischen Brückenschaltung und wird durch die Steuerelektronik (SE) überwacht.  
     
     
  Die Steuerelektronik regelt die Aufheizung des Heißdrahtes auf eine konstante Temperatur. Wird nun mehr Luftmasse benötigt so kühlt sich der Heißdraht ab und die Steuerelektronik schickt mehr Strom durch den Draht um die vordefinierte Temperatur wieder zu erreichen.  
     
     
 

Der Strom des Heißdrahts wird über den Präzisionswiderstand geleitet, der einen Spannungsabfall verursacht. Dieser Spannungsabfall wird dem Steuergerät mitgeteilt.

 
     
     
  Drosselklappen  
     
     
  Dieser Motor hat eine Registerdrosselklappe, um ihn fahrbarer zu machen. Zuerst öffnet die kleine Drosselklappe (1) und ab 22° Öffnungswinkel öffnet zusätzlich die große Drosselklappe (2). Um nicht sofort den sprichwörtlichen "Tritt ins Kreuz" zu bekommen ist auf der großen Druckklappe noch ein Keil (3) angebracht, der für die nächsten 24° Öffnungswinkel den Durchlass verengt.  
     
     
  Was ist wo?  
     
     
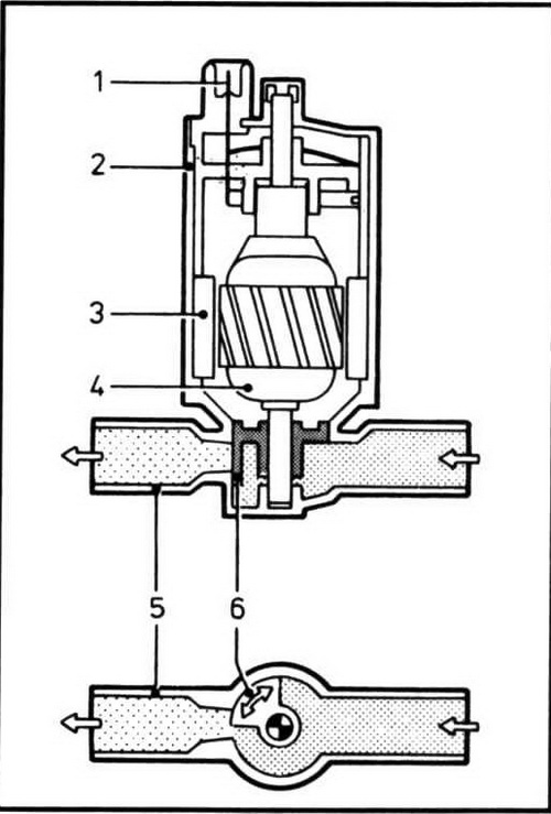
  Leerlaufdrehsteller  
     
     
  Der Leerlaufdrehsteller ist die Überbrückung der Drosselklappe um Luft in den Motor, trotz geschlossener Drosselklappe, in den Motor zu bekommen. Dies dient dazu einen stabilen Leerlauf zu haben. Der Drehschieber (6) wird gegen eine Federkraft. die den Schieber geschlossen halten will, mittels Elektromotor, der aus einem Dauermagneten (3) und einem Anker (4) besteht, verdreht. Je höher die anliegende Spannung ist, umso weiter wird der Bypass geöffnet.  
     
     
  Was ist wo?  
     
     
  Taktventil  
     
     
 

Das Taktventil dient zur Regelung des Ladedrucks, die der Turbolader liefern soll. Die Regelung erfolgt durch ständig wechselnde Schaltzustände des 2-Wege-Ventils, deshalb auch der Name "Taktventil". Abwechselnd wird der Überdruck auf die Wasteklappen-Regelungs-Einheit oder zur Druckseite des Turboladers geleitet. Es gewährleistet einen stabilen Ladedruck, der weder zu gering noch zu hoch ist. Je nach Lastzustand des Motors wird mehr oder weniger Ladedruck zugelassen.

 
     
     
  Was ist wo?  
     
     
  Startproblemen bei Warmen Motor - das kann am Heißstartventil liegen !!  
     
     
  Es empfiehlt sich ohnehin das Heißstartventil zu überbrücken da es oft kaputt geht und es dadurch zu Motorschäden kommen kann. Vor allem bei getunten C20LET Motoren !!  
     
     
  Was ist wo?  
     
     
  Nachher (Stecker am Heißstartventil nicht abziehen)  
     
     
  Was ist wo?  
     
     
  Motorkontrolleuchte zeigt einen Fehler an?  
     
     
  Dann kann man bei älteren Opelmodellen den Fehler selbst auslesen  
     
     
  Wie funktioniert das Ausblinken des Fehlers?  
     
     
  Hier erkläre ich es mal am Beispiel meines Tigra S93 mit dem C20let Motor:em C20let Motor:  
     
     
  Man sucht den DIAG (Diagnosestecker). Beim Tigra befindet er sich links unterhalb des Lenkrades im Sicherungskasten  
     
     
  Was ist wo?  
     
     
  Zündung aus, nun benötigt man eine Büroklammer, mit der verbindet man PIN 4 oder 5 (beides Masse) mit PIN 6 (Diagnoseleitung). Nun schaltet man die Zündung ein (Motor nicht starten!). Die Motorkontrollleuchte leuchtet kurz auf und beginnt zu blinken. Bei den meisten (vornehmlich älteren Fahrzeugen) wird zu Beginn der Code 12 ausgegeben. Dies wird wie die Fehlercodes auch 3x wiederholt. Danach beginnt gleich die Ausgabe des/der Fehlercodes. Sind alle Codes ausgegeben, wiederholt sich Alles, incl. der Startausgabe 12. Bei den älteren Modellen ist dieser 2-3 stellig, bei den neueren immer 4Stellig. Hier stellt 10 mal Blinken die 0 dar!  
     
     
  Man sollte sich für das Auslesen evtl. ein Blatt Papier und einen Stift bereit legen.  
     
     
  Die Codes werden wie folgt ausgegeben:  
     
     
 

Einleitung: 

*  einmal Blinken

-   eine Sekunde Pause

** zwei mal Blinken im Abstand einer halben Sekunde

--> ergibt den Einleiungscode 12.  Blinkend sähe diese dann so aus:  *-**--*-**--*-**

Die Fehlerausgabe funktionier auf gleiche Weise:

*** dreimal Blinken im Abstand von jeweils einer halben Sekunde

-      eine Sekunde Pause

****** sechsmal Blinken im Abstand von jeweils einer halben Sekunde

--> ergibt welchen Fehlercode? Richtig, 36... Geblinkt:     ***-******--***-******--***-******

 
     
     
 

Bei mir blinkte es dann folgendermaßen:   

*-*-****--*-*-****--*-*-****       

Dies war dann  der Fehlercode 114

(Ladedruck Leerlauf - über Maximalwert). 

Die Ursache war dann schnell gefunden, der Ladedruckschlauch am STG war abgeknickt ....

 
     
     
 

Das Löschen der Codes kann auf 3 Arten passieren. Zum einen kann der FOH den Fehlerspeicher mit seinem TECH2 beliebig zurücksetzen (kosten halten sich mit max. 15eus fürs Auslesen und Löschen in Grenzen). Die zweite Möglichkeit wäre das zurücksetzen des Speichers über das Abklemmen der Batterie für etwa 5 Minuten. Zu guter Letzt löschen sich die Fehler nach 20 Neustarts automatisch, wenn sie nicht wieder aufgetreten sind!

 
     
     
  Fehlercodes:  
     
  PDF  
     
     
 

10 Codevariante nicht programmiert

12 Diagnosebeginn

13 Lambdasonde - keine Spannungsänderung

14 Kühlmitteltemperatursensor - Spannung zu niedrig

15 Kühlmitteltemperatursensor - Spannung zu hoch

16 Klopfsensor 1 - keine Spannungsänderung

17 Klopfsensor 2 - keine Spannungsänderung

18 Klopfsteuergerät - kein Signal

19 Drehzahlsensor - falsches Signal

21 Drosselklappen-Potentiometer - Spannung zu hoch

22 Drosselklappen-Potentiometer - Spannung zu niedrig

23 Klopfsteuergerät

24 Geschwindigkeitssensor

25 Einspritzventil Nr. 1 - Spannung zu hoch

26 Einspritzventil Nr. 2 - Spannung zu hoch

27 Einspritzventil Nr. 3 - Spannung zu hoch

28 Einspritzventil Nr. 4 - Spannung zu hoch

29 Einspritzventil Nr. 5 - Spannung zu hoch

31 Drehzahlsensor - kein Signal

32 Einspritzventil Nr. 6 - Spannung zu hoch

33 AGR-Unterdruckschaltventil - Spannung zu niedrig

34 AGR-Unterdruckschaltventil - Spannung zu hoch

35 Leerlaufregelventil

37 Motorstörung-Warnleuchte - Spannung zu niedrig

38 Lambdasonde - Spannung zu niedrig

39 Lambdasonde - Spannung zu hoch

41 Geschwindigkeitssensor - Spannung zu niedrig

42 Geschwindigkeitssensor - Spannung zu hoch

44 Lambdasonde/Einspritzsignal - Gemisch zu mager

45 Lambdasonde/Einspritzsignal - Gemisch zu fett

46 Luftpumpe/Relais - Spannung zu niedrig

47 Luftpumpe/Relais - Spannung zu hoch

48 Versorgungsspannung - niedrig

49 Versorgungsspannung - hoch

51 Steuergerät - Fehler im Speicher (PROM)

52 Motorstörung-Warnleuchte - Spannung zu hoch

53 Kraftstoffpumpenrelais - Spannung zu niedrig

54 Kraftstoffpumpenrelais - Spannung zu hoch

55 Steuergerät

56 Leerlaufregelventil - Spannung zu hoch

57 Leerlaufregelventil - Spannung zu niedrig

59 Ansaugluftumschaltungs-Magnetventil 1- Spannung zu hoch

61 Aktivkohlefilter-Magnetventil - Spannung zu niedrig

62 Aktivkohlefifter-Magnetventil - Spannung zu hoch

63 Ansaugluftumschaltungs-Magnetventil 1- Spannung zu hoch

65 Gemischregulierwiderstand - Spannung zu niedrig

66 Gemischregulierwiderstand - Spannung zu hoch

67 Drosselklappenschalter

68 Leerlaufschalter - öffnet nicht

69 Ansauglufttemperatursensor - Spannung zu niedrig

71 Ansauglufttemperatursensor -Spannung zu hoch

72 Drosselklappenschalter - öffnet nicht

73 Luftmengen-/Luftmassenmesser - Spannung zu niedrig

74 Luftmengen-/Luftmassenmesser - Spannung zu hoch

75 Drehmomentregelung (Automatikgetriebe) - Spannung zu niedrig

76 Drehmomentregelung (Automatikgetriebe) - fehlerhaft

79 Antriebsschlupfregelung-Steuergerät - Motoreingriff inkorrekt

81 Einspritzventil Nr. 1 - Spannung zu niedrig

82 Einspritzventil Nr. 2 - Spannung zu niedrig

83 Einspritzventil Nr. 3 - Spannung zu niedrig

84 Einspritzventil Nr. 4 - Spannung zu niedrig

85 Einspritzventil Nr. 5 -Spannung zu niedrig

86 Einspritzventil Nr. 6 - Spannung zu niedrig

87 Klimaanlagen-Abschaltrelais - Spannung zu niedrig

88 Klimaanlagen-Abschaltrelais - Spannung zu hoch

89 Lambdasonde - Spannung zu niedrig

91 Lambdasonde - Spannung zu hoch

92 Nockenwellenpositionssensor - falsches Signal

93 Nockenwellenpositionssensor - Spannung zu niedrig

94 Nockenwellenpositionssensor - Spannung zu hoch

95 Warmstartventil - Spannung zu niedrig

96 Warmstartventil - Spannung zu hoch

97 Antriebsschlupfregelung-Steuergerät - falsches Signal

98 Lambdasonde - Spannung zu niedrig

113 Ladedruckregelung - Ladedruck zu hoch

114 Ladedruck Leerlauf - über Maximalwert

115 Turbolader Vollast - unter Minimalwert

116 Ladedruck - Ober Maximalwert

117 Ladedruckregelventil - Spannung zu niedrig

118 Ladedruckregelventil - Spannung zu hoch

119 Saugrohrdrucksensor - Bereich/Leistung

121 Lambdasonde 2 - Gemisch zu mager

122 Lambdasonde 2 - Gemisch zu fett

123 Ansaugluftumschaltungs-Magnetventil 1-blockiert

124 Ansaugluftumschaltungs-Magnetventil 2- blockiert

125 Saugrohrdrucksensor - unter Minimalwert

126 Saugrohrdrucksensor - über Maximalwert

129 Abgasrückführung - Spannung zu niedrig

131 Abgasrückführung - Spannung zu hoch

132 Abgasrückführung - falsches Signal

133 Abgasrückführung 2- Spannung zu hoch

133 Ansaugluftumschaltungs-Magnetventil 2- Spannung zu niedrig

134 Abgasrückführung 2- Spannung zu niedrig

134 Ansaugluftumschaltungs-Magnetventil 2- Spannung zu hoch

135 Motorstörung-Warnleuchte -Spannung zu niedrig

136 Steuergerät

137 Steuergerät-Kasten - Temperatur zu hoch

138 Saugrohrdrucksensor - Spannung zu niedrig

139 Saugrohrdrucksensor - Spannung zu hoch

143 Wegfahrsperre - kein/falsches Signal

144 Wegfahrsperre - kein Signal

145 Wegfahrsperre - falsches Signal